
據外媒insideevs報道,近日,特斯拉申請了一項新的專利,該專利為一套新的電池組裝方法,其方法是將單個電池并聯形成電池子模塊,然后再將子模塊組裝成車輛所需要的動力電池。
特斯拉還為這個組裝專利設計了獨特的冷卻方法,可以使非電解質液體直接經過電池組來降低電池組溫度,也可以將散熱片裝到電池組中降溫,還可以用特殊的封裝材料來實現降溫。
之前動力電池的生產模式基本為電池公司專門制造電池,然后汽車廠商進行組裝。在采用了特斯拉的新專利之后,電池廠將可以直接生產電池子模塊,能夠提升電池生產效率。
一、特斯拉申請電池組裝專利 電池可被集成為模塊
近日,專利狂魔特斯拉又申請了一項新的專利,這個專利為新的電池組裝方法。特斯拉認為可以將單個電池并聯起來集成到一塊電路板上,這個電路板可以作為電池子模塊,然后將電池子模塊組裝成各種尺寸的電池。

▲特斯拉新專利截圖
以往的動力電池過程比較復雜,首先要由電池廠商生產單個電池,然后將單個電池輸送給汽車生產商,再由汽車生產商自己組裝所需要的動力電池,這個過程比較復雜且費時。
在使用了特斯拉的新專利之后,電池生產商可以直接生產出電池子模塊。電池廠商可以將電池集成到一起,電池的平衡性和抗壓性都會進一步提升,而且還能在電路板中設置保險絲,這將會提升電池的質量。
這些電池子模塊可以進行并聯或者串聯,能夠像拼積木一般生產出各種尺寸的電池。
需要看到的是,在這種生產模式下,制造電池的時候需要大量的電路板,電路板可以用來集成單個電池和密封電池組。
二、特斯拉研發電池冷卻系統 三種方法實現降溫
更改了電池的組裝方法,就意味著也要重新設計電池的冷卻系統,特斯拉對此也做了考慮,其設計了三種方法來實現電池冷卻。
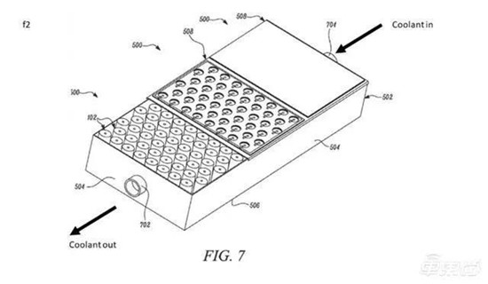
在特斯拉的專利圖片中可以看到,特斯拉為電池組設計了兩個開口,液體可以流入和流出,能夠直接利用液體從電池組中經過來降低電池溫度。

▲特斯拉新專利中液冷系統截圖
還有一種方法也可以降低電池的溫度,將散熱片和電池組裝在一起,然后將電池密封起來,在電池外部貼上絕緣涂層。
第三種方法是各個電池單元之間采用相變材料來封裝,這種材料會發生相變,在相變的過程中會吸收大量的熱量,因此能夠保持電池溫度穩定,使用相變材料也可以使HVAC(供熱通風與空氣調節)設備的保持平均負荷。
結語:特斯拉逐步完善電池技術,或將要宣布生產電池
特斯拉今年以來頻繁在動力電池方面做出動作,目前已經收購兩家電池公司。年初收購的電池公司Maxwell擁有成熟的干電極制造工藝,而最近剛收購的電池公司Hibar則擁有完備的電池制造設備。
特斯拉此時推出這項新專利,這項專利必定會在不久之后應用到其收購的兩家電池公司上面。這將會簡化特斯拉的電池生產程序,同時所產的電池的成本將會大幅降低,電池的質量也會提高。
可以看出,特斯拉正在不斷的更新自己的電池技術,正在為生產動力電池做準備。隨著電池生產技術的不斷提升與電池生產設備的不斷完善,特斯拉應該會在不久之后宣布量產電池。
